Аналоги:

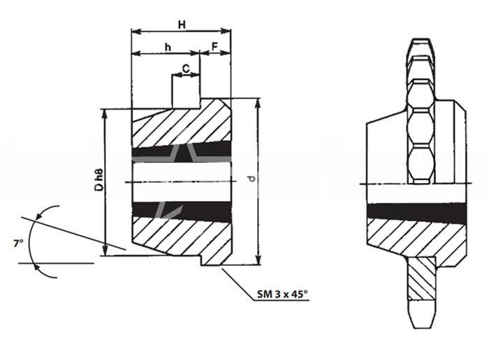
Ступица приварная под втулку тапербуш 2012HW (WM20) ISKRA – это комплектующая, изготовленная из высококачественной стали Cast iron EN-GJL-250 UNI EN 1561. Ступица применяется как элемент промышленной трансмиссии в качестве компонента для монтажа на валу крыльчаток приводных барабанов, вентиляторов и т.д.
Втулка тапербуш – 2012.