Аналоги:

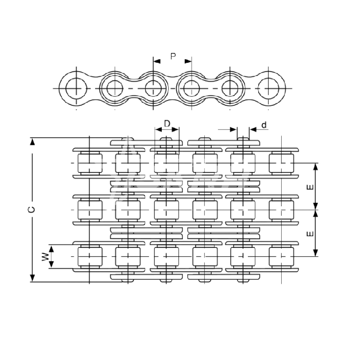
Цепь приводная роликовая трехрядная 06B-3 ISKRA является трехрядной цепью со стандартным типом звеньев.
Выполнена из стали .
Диаметр ролика составляет 3,28 мм.
Ширина между внутренними пластинами - 10,24 мм.
Шаг цепи 9,525 мм.
Вес цепи равен 1,16 кг/м.