Аналоги:

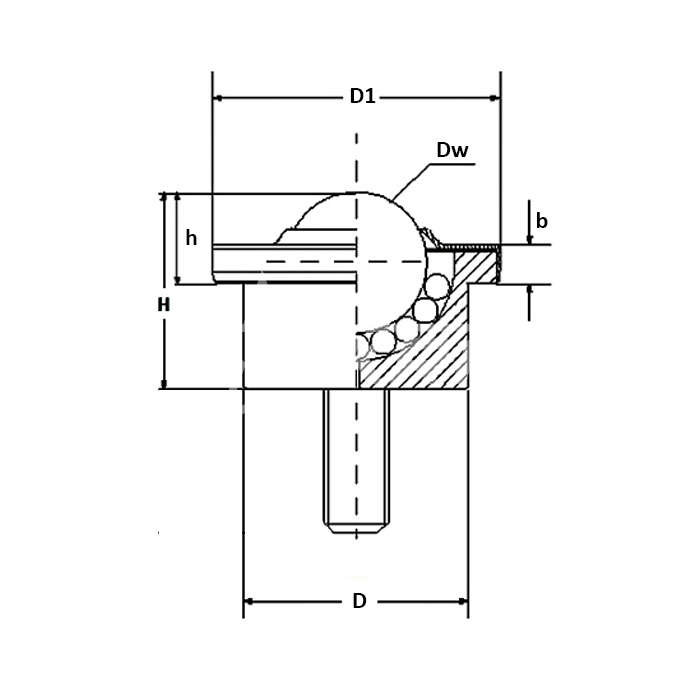
Шариковая опора SP15B M8X15 (SP15-FL BS/CS) ISKRA принимает участие в процессах перемещения тяжеловесных грузов для снижения трения с возможностью приложения минимальных усилий.
Применяется в сборочных и поверочных столах, стендах и других типах технической мебели.
Ширина опоры 24 мм.
Грузоподъемность максимальная — 60 кг.
Вес — 0,065 кг.